QuattroClima предлагает запорно-регулирующие узлы (ЗРУ) для фанкойлов
Покупая вентиляторные доводчики (фанкойлы), монтажные компании зачастую сталкиваются с задачей приобретения комплекта узла обвязки для его подключения к трубопроводу хладоносителя (теплоносителя) при отсутствии указаний в проекте. При этом, чтобы сделать правильный подбор комплектующих узла обвязки, необходимо привлекать квалифицированного инженера. Большинство производителей фанкойлов перекладывают эту проблему на плечи монтажных компаний.
QuattroСlima заботится о покупателях своей продукции и предлагает универсальное решение данного вопроса - запорно-регулирующие узлы (ЗРУ) для самостоятельной сборки.
Специалисты QuattroСlima разработали для каждой модели фанкойлов ЗРУ для самостоятельной сборки. Это экономичный вариант комплекта обвязки вентиляторного доводчика, в который входят основные элементы, необходимые для обвязки доводчиков. Приобретая вентиляторные доводчики ТМ QuattroClima, вам не нужно ломать голову, монтажной организации остается только подключить их к системе холодоснабжения, не затрачивая времени на поиск инженерных решений и комплектующих.
Преимущества ЗРУ для самостоятельной сборки ТМ QuattroСlima
- Разработаны специально для вентиляторных доводчиков ТМ QuattroСlima.
- Есть комплекты как для 2-х трубных, так и 4-х трубных систем.
- Регулирование осуществляется сигналом с платы вентиляторного доводчика.
Необходимость в 3-ходовом клапане
Целью узла обвязки является подача фанкойлу хладоносителя (теплоносителя) в необходимом количестве и отключения подачи хладоносителя (теплоносителя) в случае отсутствия потребности в охлаждении либо нагреве.
Одним из важных элементов ЗРУ является 3-ходовой клапан, который как раз и регулирует подачу рабочей жидкости от источника к фанкойлу. Рабочая жидкость, поступающая в доводчик, охлаждает или нагревает воздух в помещении. При достижении требуемой температуры воздуха вентилятор прекращает свою работу и принудительную циркуляцию воздуха через фанкойл. Чтобы избежать дальнейшего нежелательного понижения/повышения температуры воздуха, требуется прекратить подачу жидкости в теплообменник доводчика, но при этом сохранив ее циркуляцию в обход доводчика. Для решения этой задачи QuattroСlima рекомендует устанавливать перед фанкойлом 3-ходовой клапан, перенаправляющий поток хладоносителя (теплоносителя) в обход теплообменника при выключенном оборудовании. Тем самым минимизируется риск появления конденсата на поверхности теплообменника и его коррозии. В ЗРУ для самостоятельной сборки ТМQuattroСlima 3-ходовой клапан имеет два положения открыто или закрыто, без плавного регулирования.
Для сохранения стабильного расхода в системе хладоносителя не рекомендуется ставить 2-ходовые клапаны более чем на 30% фанкойлов от общего числа.
ЗРУ для самостоятельной сборки TM QuattroСlima обеспечивают гибкость при подключении вентиляторного доводчика. Это достигнуто за счет того, что в комплект ЗРУ не входят запорные вентили. Они могут быть установлены непосредственно на объекте, необходимо просто выполнить подключение к существующей и уже функционирующей системе или подобрать необходимые подсоединительные диаметры в зависимости от диаметра трубопровода на объекте.
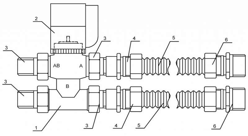
Конструкция ЗРУ для самостоятельной сборки
1 — 3-ходовой клапан; 2 — привод 3-ходового клапана; 3 — резьбовой адаптер; 4 — муфта с внутренней резьбой; 5 — гофрированный патрубок; 6 — муфта с наружной резьбой
Соответствие модели вентиляторного доводчика 2-х трубного и ЗРУ для сборки
| Модель ЗРУ для сборки | Модель вентиляторного доводчика |
| QA-TUV4-4.0-1 | QV-T…UA/ UB |
| QA-TUV2-4.0-1 | QV-T…KA |
| QV-T…CA | |
| QV-T…DC–(E) | |
| QV-T…DD–(E) | |
| QV-T…DA–(E) | |
| QV-T65-120DB–(E) | |
| QV-T…FA | |
| QV-T…HA | |
| QA-TUV2-5.0-1 |
QV-T141-200DB–(E) |
Соответствие модели вентиляторного доводчика 4-х трубного и ЗРУ для сборки
| Модель ЗРУ для сборки | Модель вентиляторного доводчика |
| QA-TUV2-4.0-1 | QV-T…KA4 |
|
(для трубопровода хладоносителя) QA-TUV4-4.0-1 (для трубопровода теплоносителя) |
QV-T…CA4 |
|
QA-TUV2-4.0-1 (для трубопровода хладоносителя) QA-TUV2-4.0-1 (для трубопровода теплоносителя) |
QV-T…DA4 |
| QV-T…DD4 | |
| QV-T…DC4 |
С инструкцией на ЗРУ для самостоятельной сборки можно ознакомиться по ссылке: http://www.quattroclima.biz/upload/medialibrary/60b/instructsiya_QA-TUV.pdf
Ссылка для скачивания сертификата на ЗРУ для самостоятельной сборки: http://www.quattroclima.biz/upload/medialibrary/125/sert-QA.pdf
Новая брошюра по компактным вентиляционным агрегатам QuattroClima
TM QuattroClima: с Новым Годом и Рождеством

