Apple делает ставку на вентиляцию
Тема: Новости отрасли
![]() |
|
Возможно совсем скоро в недрах «яблочных» устройств будет циркулировать воздух (Apple iPad, версия Turbulent Dreams).
|
Будущие модели iPad или даже iPhone могут быть оснащены вентилятором, пишет Рик Мыслевски для theregister.co.uk.
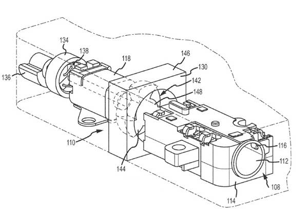
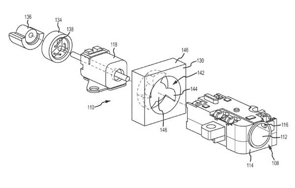
Патентная заявка «Охлаждающие системы для мобильных электронных устройств» была опубликована в прошлый четверг Американским бюро по патентам и торговым маркам. В ней описывается устройство, представляющее собой комбинацию вентилятора и устройства оповещения (с помощью вибрации), при этом на оба компонента приходится один мотор.
«Чтобы мобильные электронные устройства могли выполнять более сложные чем сейчас процессы, им потребуются более быстрые и мощные устройства обработки, — говорится в заявке, — однако они могут выделять больше тепла, чем существующие процессоры».
На первый взгляд, идея разместить кулер в портативном устройстве может показаться надуманной. Вентиляторы будут сильно гудеть, не говоря уже о том, что в смартфонах всегда не хватает места. Чтобы уменьшит размеры конструкции, авторы патентной заявки Флетчер Роткопф, Теодор Дабов и Дэвид Кумка предлагают использовать один мотор для управления и системой оповещения, и кулером.
В документе также описаны несколько возможных конструкций сцепления вращающихся элементов. В одном варианте при достижении определенной скорости вращения двигателя, выбор активного устройства, осуществляется с помощью центробежной муфты. Согласно другому варианту, вращение двигателя в одну сторону запускает кулер, в обратную — включает устройство оповещения.
«Охлаждающая система для мобильных устройств» в собранном и разобранном виде.
Другая идея — использовать аудио-выход гаджета для выдува отработанного воздуха. Правда, что будет, если подключить к девайсу наушники в документе не уточняется.
Впрочем, на другой странице патентной заявки встречается упоминание о «других охлаждающих жидкостях», указывающее на то, что в герметичной охлаждающей системе будет циркулировать жидкость, вероятно, с помощью насосов, перегоняющих ее из относительно теплых мест корпуса в холодные.
Отсюда вопрос: зачем маломощным устройствам на ARM-процессорах, таких как Apple A-series, чей размер постоянно уменьшается, равно как и энергоемкость процессов, такая сложная схема охлаждения? Похоже, последние слухи о том, что Apple будет использовать ARM-чипы в макбуках вместо процессоров Intel, неверны. Возможно, все совсем наоборот — вместо ARM-процессоров в iPad и iPhone компания планирует устанавливать более «горячие» чипы от Intel. В таком случае понятно, что Apple стремится закрепить за собой инновационные технологии охлаждения просто на всякий случай.


